特點
海灣JTY-GF-GST104(Ex)/T點型光電感煙火災探測器利用紅外散射技術,采用進口光電器件,提 高了傳感器的可靠性、穩定性和一致性,并采用獨特的迷宮設計,防蟲、防塵、抗外界光線干擾性 能良好。產品結構新穎、外型美觀、性能穩定可靠、抗潮濕性強,并具有良好的抗化學腐蝕性。本 探測器防爆類型為本質安全型,防爆標志為ExibIICT6 Gb,適用于石油、化工等行業具有防爆要求的1區及2區使用,同時本探測器還抗磷化鋁、鹽霧、二氧化硫腐蝕,適用于倉庫、廠房及其它有磷 化鋁、鹽霧、二氧化硫腐蝕環境的場所。本探測器為非編碼型,與GST-LD-8332模塊箱配合使用,可接入本公司生產的各類火災報警控制器,完成對探測器信號的處理。
該產品符合GB3836.1-2010《爆炸性環境 第1部分:通用要求》和GB3836.2-2010《爆炸性環境 第4部分:由本質安全型“i”保護的設備》的有關規定。
主要技術指標
(1) 工作電壓:DC16V~DC28V
(2) 靜態電流≤150μA (注:靜態時探測器可工作在 DC16V~DC28V 電壓范圍內)
(3) 報警電流≤30mA
(4) 安全柵參數:U0=28V,I0=93mA
(5) 防爆標志:ExibIICT6 Gb
(6) 報警確認燈:紅色,正常時閃亮,報警時常亮
(7) 使用環境:溫度:-10℃~+55℃ 相對濕度≤95%,不結露 大氣壓力:86kPa~106kPa
(8) 外殼防護等級:IP23
(9) 探測器尺寸:直徑:100mm ,高:56mm(帶底座)
保護面積
當空間高度為 6m~12m,一個探測器的保護面積,對一般保護現場而言為 80m2 。空間高度為 6m 以下時,保護面積為 60m2 。具體參數應以《火災自動報警系統設計規范》(GB 50116)為準。
結構特征、安裝與布線
探測器的外形結構示意圖如圖 1-37 所示:

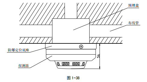
探測器安裝方式如圖 1-38 所示:

接線盒可采用 86H50 型標準預埋盒,其結構尺寸外形示意圖如圖 1-39 所示:

本探測器采用 DZ-03(Ex)本安型定位底座安裝,探測器與底座之間有定位卡口,使探測器具 有 的安裝位置,本安型定位底座所用材料具有防靜電功能。底座示意圖如圖 1-40:

本安型定位底座上有四個帶數字標識的接線端子,“1”為正極輸入,“2”為正極輸出,“3”為 電源負極,“4”不接線,用來輔助固定探測器。探測器與本安型定位底座上有定位卡口,使探測器 具有 的安裝位置。本安型定位底座 A、B 處有兩個凸棱,探測器底部側面 C 處有一個凸棱。裝配 時,將探測器凸棱 C 對準本安型定位底座 A 處,順時針旋轉至 B 處即可安裝好探測器。底座上有 4 個導體片,片上帶接線端子,底座采用串聯方式連接,回路末端應接一只 4.7k?終端電阻。
布線要求:電纜均選用截面積≥1.0mm2 的本安電纜,且電纜間分布電容不得大于 0.083?F,分 布電感不得大于 4.0mH。
為避免接線混亂,應采用不同顏色的線進行區別;接線與探測器底座端子 連接處應做密封處理(無裸露銅線)。 具體接線見 章 5.4 節 GST-LD-8332 模塊箱接線說明。


蘇公網安備32058102002318號
客服1